3. Транспортирование. Разгрузка и складирование металлоконструкций
3.1. Рулонированные конструкции высотой до 12 м транспортируются на четырехосных железнодорожных платформах грузоподъемностью 60 т (черт. 1, а).
3.2. Для транспортирования рулонов высотой 18 м целесообразно использовать железнодорожные транспортеры сцепного типа грузоподъемностью 120 т (черт. 1, в).
Рулонированные конструкции высотой 18 м можно перевозить также на железнодорожной четырехосной платформе грузоподъемностью 60 т с двумя платформами прикрытия. В этом случае необходимо обеспечить одновременное отправление нескольких рулонов, тогда каждая платформа прикрытия перекрывает концы двух рулонов (черт. 1, б).
3.3. При погрузке на железнодорожные платформы рулоны должны быть уложены на деревянные брусья и подбиты клиньями со столярно обработанными выкружками. Брусья укладываются на траверсы платформы и должны находиться под кольцами шахтных лестниц или каркасов. Кромка полотнища должна быть направлена вниз и располагаться ниже горизонтальной оси лежащего рулона на расстоянии 800 мм, т.е. вне зоны полосы крепления рулона к железнодорожной платформе.
3.4. При погрузке на железнодорожные транспортеры сцепного типа рулоны укладываются в ложементы, находящиеся друг от друга на расстоянии по осям 12,36 м. Поверхность соприкосновения ложемента с рулоном выстилается досками длиной 1 м и толщиной не менее 30 мм, а крепление рулона к ложементу производится бандажами из полосовой стали с помощью инвентарных винтовых стяжек.
3.5. Элементы резервуарных конструкций (щиты покрытий, элементы колец жесткости и опорных колец, короба понтонов и плавающих крыш и др.) перевозят на железнодорожных платформах и в полувагонах в специальных контейнерах или без них и закрепляют способами и средствами, исключающими их деформацию.
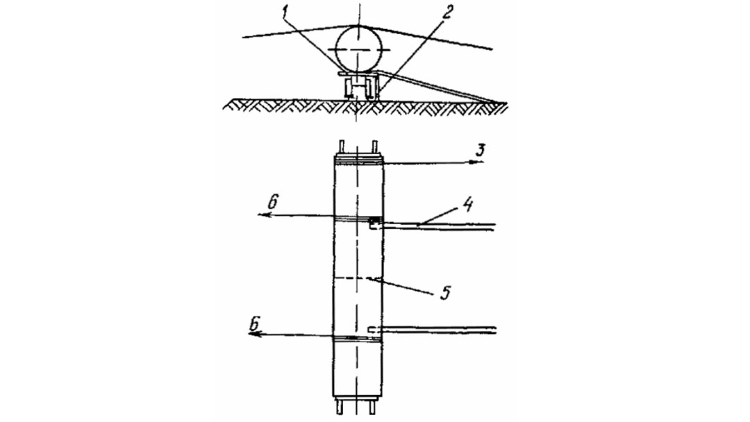
Перевозка рулонов железнодорожным транспортом:
а — перевозка рулона высотой 12 м на четырехосной платформе (разгрузка с помощью крана);
б — перевозка рулона высотой 18 м на четырехосной платформе с двумя платформами прикрытия;
в — перевозка рулона высотой 18 м на сцепном транспортере

1 — самоходный кран; 2 — разгрузочная траверса; 3 — место маркировки рулона; 4 — четырехосная железнодорожная платформа; 5 — рулон; 6 — платформа прикрытия; 7 — сцепной транспортер; 8 — неподвижный ложемент; 9 — подвижный ложемент
Черт. 1
Мелкие детали (болты, гайки, соединительные элементы ограждений, патрубки и др.) укладывают в специальные ящики.
3.6. Конструкции резервуара, подлежащие перевозке в пределах сети железных дорог СССР на общих условиях, не должны превышать общесетевого габарита погрузки, установленного МПС СССР.
Металлические конструкции длиной, не превышающей габариты платформ и полувагонов, допускается грузить на все железные дороги, кроме Дальневосточной, по льготному габариту погрузки. В накладной на такие грузы отправитель делает отметку «Льготный габарит».
3.7. Перевозка негабаритных или тяжеловесных металлических конструкций производится в соответствии с «Инструкцией по перевозке негабаритных и тяжеловесных грузов на железных дорогах СССР колеи 1520 мм» (М.: Транспорт, 1985).
3.9. Разгрузка рулонов с железнодорожных транспортеров и платформ должна осуществляться на специально подготовленных площадках в соответствии с ППР на погрузочно-разгрузочные работы.
Категорически запрещается сбрасывание рулонов с платформы или транспортера на песчаные или другие подсыпки.
3.10. Разгрузку рулона с железнодорожной платформы или транспортера в зависимости от его массы и высоты, а также наличия грузоподъемных средств производят одним из следующих способов:
- с помощью двух грузоподъемных кранов или крана и траверсы (см. черт. 1, а) В этом случае стропы траверсы располагаются на равном расстоянии по обе стороны от центра тяжести рулона (центр тяжести рулона, его масса и габариты указываются заводом-изготовителем несмываемой краской на боковых поверхностях);
- скатыванием по балкам. При этом платформу или транспортер затормаживают башмаками.
Устанавливают две разгрузочные балки, а под край платформы со стороны скатывания подставляют опорные стойки. Целесообразно площадку разгрузки и хранения рулонов устраивать в одном уровне с железнодорожной платформой. Скатывание рулонов на площадку хранения осуществляется тремя лебедками или тракторами (черт. 2 и 3).
При наличии выровненной грунтовой поверхности с песчаной подсыпкой разрешается перекатывать рулоны (по ходу витков) на расстояние не более 50 м (черт. 4, а).
Погрузку рулонов на полуприцепы и прицепы-тяжеловозы для дальнейшей доставки к месту монтажа осуществляют кранами или накатыванием с помощью лебедок или тракторов (черт. 4, б).
При выполнении погрузочно-разгрузочных работ следует строго выполнять требования ППР и правил техники безопасности.
3.11. Рулоны высотой до 12 м, массой до 32,4 т и элементы резервуарных конструкций транспортируют от разгрузочной площадки к месту монтажа на трехосных полуприцепах МАЗ- 9389 с тягачами МАЗ-6422.
Рулоны высотой 12, 15 и 18 м, массой до 60 т целесообразно перевозить на прицепе- тяжеловозе ЧМЗАП-5212 грузоподъемностью 60 т, оборудованном поворотной седловиной, вместе с двухосным прицепом-роспуском грузоподъемностью 25 т. В качестве тягача можно использовать автомобиль КрАЗ-255 Б1 или КрАЗ-260.
Разгрузка рулона на рампу для приема и хранения рулонов

1 — железнодорожная платформа; 2 — опорные стойки; 3 — разгрузочная рампа; 4 — разгрузочные балки, 5 — рулон; 6 — тяговый канат на лебедку или трактор; 7 — удерживающие канаты
Черт. 2
Разгрузка рулона на площадку хранения по наклонным балкам

1 — железнодорожная платформа; 2 — опорные стойки; 3 — тяговый канат на лебедку или на трактор; 4 — разгрузочные балки; 5 — рулон; 6 — удерживающие канаты
Черт. 3
Перекатывание рулона по грунтовой площадке и погрузка его на прицеп (полуприцеп)
а — перекатывание рулона;
б — погрузка на прицеп накатыванием с помощью лебедок или тракторов

1 — прицеп (полуприцеп); 2 — тяговые канаты на лебедки или трактора; 3 — удерживающий (тормозной) канат; 4 — погрузочные балки; 5 — рулон; 6 — опорные стойки; 7 — подкладки из дерева; 8 — башмак
Черт. 4
На транспортное сродство рулон укладывают на деревянные брусья с обтяжкой хомутами (в соответствии с требованиями п. 3.3 настоящей инструкции).
3.12. При транспортировании рулонов и элементов резервуарных конструкций по автомобильным дорогам, открытым для общего пользования, необходимо выполнять требования «Инструкции по перевозке крупногабаритных и тяжеловесных грузов автомобильным транспортом» (утверждена приказом МВД СССР от 24 февраля 1977 г. № 53) и «Правил дорожного движения».
3.13. Складировать конструкции резервуаров в зоне монтажа необходимо на заранее подготовленной площадке, соблюдая последующую очередность подачи их в монтаж.
Рулоны необходимо укладывать на деревянные балки, располагаемые под кольцами каркаса.
Все элементы конструкций должны быть уложены таким образом, чтобы исключить их поломку и деформацию.
3.14. При приемке и складировании конструкций резервуаров в монтажной зоне проверяют комплектность поставки по комплектовочной ведомости, соответствие их проекту и требованиям настоящей инструкции.